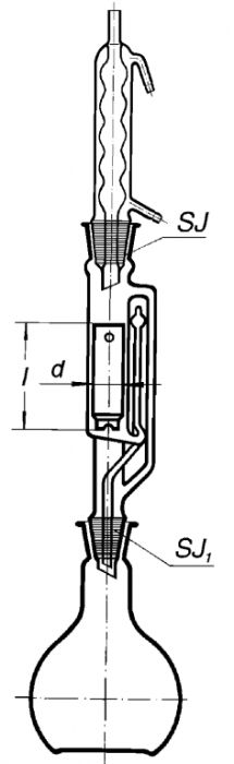
Extractor acc. Soxhlet Allihn condenser and sintered disc
| Product Code | Number | Capacity (ml) | SJ | SJ1 | Packing (pcs) |
|---|---|---|---|---|---|
| NEC31677KV | 8730 F | 100 | 45/40 | 29/32 | 94/1 |
| NEC31678KV | 8730 F | 200 | 55/50 | 29/32 | 123/1 |
| NEC31679KV | 8730 F | 500 | 60/46 | 29/32 | 200/1 |
| NEC31680KV | 8730 F | 1000 | 71/51 | 29/32 | 300/1 |